九日论道
行业资讯
198
8月前
前言:本篇内容是九日论道旗下产品专家Vic对产品的拆解分析经论主监制修改而成,数据来源于第三方数据平台提供,不代表绝对的客观事实,仅供参考。
正文
JOI 是谁?
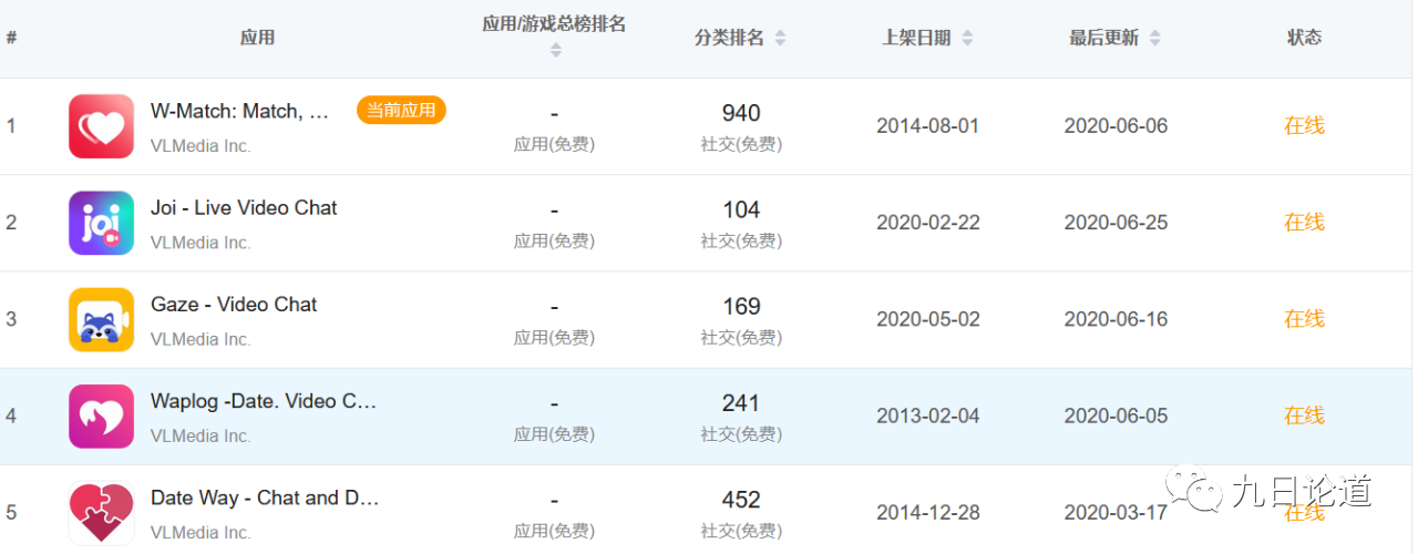
JOI并非是一款全新的社交软件,而是老牌VLMedia Inc.旗下的 Waplog 产品马甲包之一,公司 2013 年开始进入社交领域,应用市场上目前在线 5 款产品(马甲包,继承 Waplog 的全部或部分功能或数据)。
时隔 6 年再次发布两款马甲包,应该会有不一样的地方。Joi 和 Gaze 都是主打 pgc 模式的视频一对一付费聊天业务,继承 Waplog 的 match 和 club 玩法。针对的用户是成年男性,依靠着多年积攒下来的 pgc 资源,两款产品都迅速崛起。
可能有的人会有疑问:你为什么断定这是马甲包?下面我来给你论证一下为什么它是马甲包?
1. 后台用户数据相通。一个使用 joi 进行匹配,一个使用 Waplog 匹配,预料之中的事情出现了,两个账号匹配成功。
(左:joi 右:Waplog)
2. 收费逻辑相同。此处先截图证明一下收费逻辑相同,下文会提及产品的整个收费逻辑。
(左:Waplog 右:Joi)
3. 功能部分相同。同样看上图,页面功能几乎没差别,只不过摆放位置和图标略有差异。虽然是一个马甲包,但它的数据表现如何,我们下面来看看:
数据表现
2020年2月底google、ios同步上线,目前Google下载量已达百万,ios暂时没有数据支撑。根据同类型产品的评论/下载值,理性推断总下载量在400w+,发展也是迅猛。
主打pgc模式的JOI在美区榜单表现很抢眼,总榜畅销前百,垂直社交领域畅销前20。而另一个主打ugc(可能包含一些混搭的职业主播)模式的Azar目前就榜单表现来说已经落后于Joi。如果综合joi和其他马甲包合并考虑:JOI为代表的马甲之和在榜单上的表现已经拉开Azar一个身位了。但是很多人可能都没注意过这家公司的产品,做的大被人抄袭,还不如偷偷摸摸把银子收割了。
产品结构
(完整产品结构图解 99元打赏即可解锁)
通过梳理产品结构,产品的大纲有一个中心点,两个基本点,三个收费点。
一个中心点:售卖虚拟货币,无论是订阅会员还是充值页面,还是两大核心业务页面都充斥让你充值的引导,而且是尽可能的多充值。
两个基本点:match video和private video
Match video:通过match功能匹配接通视频通话的。
Private video:除match video之外所有的视频通话。
三个收费点:性别筛选、付费视频和礼物打赏
性别筛选:在match 功能中设置定向匹配
付费视频:全平台所有的视频通话都会要求付费。
礼物打赏:在平台内很多场景都设置了礼物打赏,比如:视频聊天页、文字聊天、个人主页等。
一个中心点
JOI是变现产品而不是流量产品,变现产品关心的是充值流水。而JOI对此认知相当清晰。无论从页面视觉设计上还是功能设计上都会引导用户去充值,只要你是一个处于激素分泌高峰期成年男性,你就会忍不住点开他的充值页面进行氪金,从而满足自己的欲望。
首先谈谈JOI如何在视觉设计上和部分功能设计如何引导用户充值。
一、高频页面展示
match和club以及个人中心页面顶部展示vip样式和金币余额。大家不要认为用户自然而然就会去找到充值,现在这个社会用户没有耐心自己去寻找,这就需要在产品设计上有很强的引导性。高频页面意味什么?意味着流量!大家都苦流量久矣,为什么在好不容易买的流量面前去更多展示和引导去充值?当然如果你所有页面都要进行展示和引导就有点过犹不及,展示和引导一定要和页面调性进行结合。
(左:match 中:club 右:个人中心)
二、充值优惠策略和会员订阅服务
对于充值优惠策略有四点:
第一:新设备在充值页面会有手动领取免费的10金币。
第二:新用户首充优惠75%。
第三:充值金额越大优惠越多。
第四:sku带有营销标签,减少用户选择成本。,帮助用户选择。
(左:新设备 中:新用户 右:全部SKU)
充值页面非常普通,和线上大部分的充值型产品都一个调性。不过他们的会员销售就很不一样了,JOI采取了捆绑销售并且仅给了单月的时间跨度的3组SKU,其中3组SKU的主要差距体现在送的金币额度不一样。从定价上,你可以发现,订阅VIP+金币馈赠的价格比单笔购买金币要划算不少。把用户引导去订阅是明智的,因为续费带来的收益会非常棒。但是这样的3组SKU的设计,我觉得不如多给用户多一些的时间跨度不一样的SKU。通过巧妙的设计,用户会订阅季度甚至年度的订阅项。
三、付费点设计引导充值
主要是在match筛选的选项强展示自己所剩余的金币和快捷充值按钮,点击直接进入充值页面。其次是你金额不足,而你恰好触发了收费点,都会自动或者引导用户触发充值弹窗。这样的场景还是非常多的,比如:打赏礼物时,Private Video等等。
不要小瞧这些一次又一次的充值弹窗,一遍又一遍展示,总会有些用户被你转化的。比如你有一个产品,你就需不予余力的去推销,潜移默化的影响用户,你的转化率终将会提高。不要为骚扰用户而感到愧疚,这类产品就是需要强引导。
两个基本点之match video
什么是match video call?
通过match页面进行随机匹配,可异性也可同性。
一、 准备状态
先看页面,整个页面有这几个元素:
1、金币/积分、vip图标。放置在顶部导航栏。
2、筛选设置放在顶部区域。这点我认为不是非常合理,对于大屏手机,用户使用起来不方便,可以考虑放在底部区域。JOI放置在顶部区域可能是考虑到底部tab栏按钮太多,再加上筛选设置,会显得头轻脚重。
3、JOI club浮动按钮,单击直接进入JOI Club页面。
4、背景是自己头像。单击进入match 模式。和azar的交互方式不一样,主要是因为azar是放置在最右侧tab中,侧滑不会发生tab栏切换。居中的JOI只能选择单击触发了。
二、 匹配状态
红色框选区域,为广告区域,非vip在匹配过程中会显示广告。
橙色区域的头像不停的变化,彷佛是在告诉你:我们在一直帮你寻找。
注意:我预设了筛选项,但是还是会匹配到不在我设置选项中的人,这一点没有azar做的具有人性化,在azar中如果你的筛选项中没有可匹配的人,它会告诉你:当前匹配范围人员较少,我们会扩大区域帮助你匹配。这样有了提示,用户更容易去接受匹配结果。
三、 匹配成功
匹配成功之后,会在页面上展示对方的基本信息。其中封面是优先展示视频流,当没有视频流时候显示是头像。如果匹配成功在10S之内没有做出回应,就会退出到准备状态。
两个基本点之private video
什么是private video call?
首先private video call是指用户主动给指定用户发送视频请求的通话行为。在这个平台里场景主要是四处:
第一、video chats 历史记录
按照VLMedia Inc.公司产品的一贯调性,这个video chats一般会放在match中作为二级功能,但是在这里却单拎出来作为一级功能页面,令人费解,这里我猜测的原因只能是:为了让用户明显察觉公司几款产品的强关联的关系。
其次还是有点小细节在里面:用户昵称会有不同颜色来显示。这里不是vip特殊显示而是代表三种状态:1、漏接的视频请求2、拒绝的视频请求3、正常的视频通话。这样做有较强的辨识度,不同字体颜色代表不同的优先级。由此可见joi认为:漏接>拒接>正常。
这个页面单击item就会进入个人主页,虽然放置视频请求按钮,但是我认为可以设置为传统手机来电记录那样:单击是回拨功能,边上放置更多按钮让用户去选择操作。
第二、JOI club
首先说明这里的用户都是在线用户,灰色in call代表两种状态1、当前正在通话中2、当前正在匹配模式中。
其次用户点击是查看当前用户的上传的首条短视频,目的是为了供用户筛选,静态头像是不够的,短视频可以算是视频通话的预览。从而使男用户产生更多的荷尔蒙激素,进行付费聊天的冲动。但是我想可以做的更加优秀一点,参考p站,列表就是短视频预览,能够达到同样的效果,还不需要用户点击。
第三、 聊天历史记录
和常规的IM的聊天页面做的稍微有点区别,没有语音功能,只能视频和图片、礼物打赏功能。
此外这里面会涉及到一个会员问题,非会员只能和有过接通视频的用户进行文字聊天。VIP用户没有限制。在这里我有点不太能理解,对于这类pgc模式的产品,本身就不应该限制关系建立,这通常是ugc模式采用的惯用伎俩。我们应该鼓励用户进行双方关系建立,利用pgc用户对普通的转化。但是国内出海此类产品做的更甚:连文字聊天都需要付费。
当对方没有回复,不可以使用图片功能。Joi认为只有双方都进行互动才算是0到1关系的建立,此举也避免了大量的男性用户上来给女性用户发送一些淫秽图片。算是发垃圾系统中一个小功能。
第四、 查看个人主页、个人短视频
对于这类的场景触发就是纯粹的荷尔蒙刺激,当你看几张大尺度照片,几段诱惑力非常强的短视频,你会不会冲动点击通话呢?
总结一下match video和club的private video的关系:
1、 首先在页面上match 页面有一个joi club的快捷浮动按钮,而joi cub没有match的快捷按钮。
2、 Joi club中女性资料的齐全的超乎你想象,部分照片、尺度大的惊人。完全不是一个正常的社交女用户的资料卡片。
3、 和女用户进行视频聊天,都非常主动,上来都是问你要看什么部位,要求你给他送礼物。也不是一个正常女用户干的出来的事情。
4、 积分可兑换成现金。
我从以上三点得出一个结论:JOI是pgc模式下的付费视频聊天app。尽管你可以match到女性素人,但是match功能归根结底还只是一个引流功能,对用户付费的初步教育。而Club成员(pgc用户)来负责提高ARPPU、LTV。你是可以不用充钱玩,但是你要有足够的时间去进行匹配,即使匹配到女性素人,她不可能开始就是能够就让满足你的需求。而在男性的荷尔蒙激素刺激下,时间都显得那么宝贵,你会快速想找到能够专业满足需求的女性用户,这个时候你就会下意识的点开joi club,然后氪金。
三大收费点之性别筛选
JOI的筛选沿用了Azar,在这里面设置了单项收费,仅针对性别筛选收费、对地区筛选不收费(地区筛选只能是全球和本地区,不可以指定区域。)此处就是收入全部归入JOI公司,肯定不涉及任何分成计算。

(左:性别筛选 右:地区筛选)
三大收费点之付费视频通话
收费逻辑:
1:异性用户进行视频通话,无论是match video还是private video都是异性付费。
2、同性用户进行private video时谁主动谁付费。
3、 同性用户进行match video由其中一方付费。(按测试结果显示应该时后注册的付费)
下图中测试时间账号按照注册时间123>chen>wang
(左:123和wang match video中wang的视角 右:chen和wang match video中wang视角)
收费价格、积分分成
1、Match video中为60金币/分钟,前25s为免费时间;Private video中为120金币/分钟。
2、金币等额转换成积分。
3、Match video中由于到25s未付费挂断的平台补偿5积分。
关于积分兑换,这里值得一提的是:由于没有办法成为club成员,普通素人女的用户积分在JOI没有任何用处,至少我操作下来没有任何的反馈。
积分兑换的分成逻辑我在这里做了个小猜测:
1. 男性付了多少金币,女性用户得到多少积分。但女性用户的积分反向转换成现金提成肯定是会有折扣的,兑换比例肯定少于充值优惠的力度,肯定在65%以下。

2、 在Waplog里,不论素人还是PGC的女性用户,她们的积分都是可以提现的。在Waplog中积分可以转化成金币,大概是5积分=1金币,150金币大概是$1.99美金。这样你脑海里大概可以有一个积分和美金换算的关系。
3、 我猜测是因为waplog中考虑到了女性素人,因此进行两折转换,但是针对pgc模式两折又太低,65折不能保证百分百盈利。因此分成在50%左右。
三大收费点之礼物打赏
礼物打赏的场景还是很多的,和其它付费视频聊天没有什么区别。主要还是在三个场景:
第一、 视频通话中的礼物打赏
第二、 文字聊天的礼物打赏
第三、 个人主页、个人短视频的打赏
其中,在第二个场景下,主播需要回复消息才可以领取礼物。这玩法在国内外也都是常见的,礼物打赏这块我就不展开了。聊天约会软件的套路实在太多了,除了送礼物去收割男性用户以外,可能给男用户发一张马赛克的照片和视频,让他们付费解锁会来得更直接一点。
总结
JOI是算的上一款简单的产品,甚至还有一些漏洞、bug但是一直不影响在榜单上表现。能够满足用户需求,用户就会对你的耐心多一点。
现在很多在扎堆出海进行视频聊天业务,但是国内的产品在交互上过于东方化,产品功能追求大而全。自己作为产品经理再去拆解自己的App,你会不会感到头大?而JOI只是继续waplog一小部分业务玩法反而在榜单中表现的更好,这也说明任何小产品也都有成功的潜质。只要你目标明确,主次功能的角色想清楚,你就会很清晰的知道该怎么去做产品。
喇叭(1):
九日论道增长咨询业务已经全方位开展。关注主笔人朋友圈的老朋友们不难发现,日前已经有很多出海的APP在通过九日论道滋养的2个月都实现了70%-120%的营收增长。每个月陪伴式增长服务,点对点优化产品迭代方案 - 培训培养企业产品、运营团队 - 完整的版本数据归因,一切就为了让收入形成健康的月环比增长。
喇叭(2):
(欢迎99元付费解锁JOI完整产品导图)
---END---
扫码进群免费领取会员
微信公众号
{{item.time_desc}}
直播电商大数据分析平台
实时直播
爆款直播间
达人榜单
热门商品
爆款视频
电商干货
电商问答
更多功能
更多
前言:本篇内容是九日论道旗下产品专家Vic对产品的拆解分析经论主监制修改而成,数据来源于第三方数据平台提供,不代表绝对的客观事实,仅供参考。
正文
JOI 是谁?
JOI并非是一款全新的社交软件,而是老牌VLMedia Inc.旗下的 Waplog 产品马甲包之一,公司 2013 年开始进入社交领域,应用市场上目前在线 5 款产品(马甲包,继承 Waplog 的全部或部分功能或数据)。
时隔 6 年再次发布两款马甲包,应该会有不一样的地方。Joi 和 Gaze 都是主打 pgc 模式的视频一对一付费聊天业务,继承 Waplog 的 match 和 club 玩法。针对的用户是成年男性,依靠着多年积攒下来的 pgc 资源,两款产品都迅速崛起。
可能有的人会有疑问:你为什么断定这是马甲包?下面我来给你论证一下为什么它是马甲包?
1. 后台用户数据相通。一个使用 joi 进行匹配,一个使用 Waplog 匹配,预料之中的事情出现了,两个账号匹配成功。
(左:joi 右:Waplog)
2. 收费逻辑相同。此处先截图证明一下收费逻辑相同,下文会提及产品的整个收费逻辑。
(左:Waplog 右:Joi)
3. 功能部分相同。同样看上图,页面功能几乎没差别,只不过摆放位置和图标略有差异。虽然是一个马甲包,但它的数据表现如何,我们下面来看看:
数据表现
2020年2月底google、ios同步上线,目前Google下载量已达百万,ios暂时没有数据支撑。根据同类型产品的评论/下载值,理性推断总下载量在400w+,发展也是迅猛。
主打pgc模式的JOI在美区榜单表现很抢眼,总榜畅销前百,垂直社交领域畅销前20。而另一个主打ugc(可能包含一些混搭的职业主播)模式的Azar目前就榜单表现来说已经落后于Joi。如果综合joi和其他马甲包合并考虑:JOI为代表的马甲之和在榜单上的表现已经拉开Azar一个身位了。但是很多人可能都没注意过这家公司的产品,做的大被人抄袭,还不如偷偷摸摸把银子收割了。
产品结构
(完整产品结构图解 99元打赏即可解锁)
通过梳理产品结构,产品的大纲有一个中心点,两个基本点,三个收费点。
一个中心点:售卖虚拟货币,无论是订阅会员还是充值页面,还是两大核心业务页面都充斥让你充值的引导,而且是尽可能的多充值。
两个基本点:match video和private video
Match video:通过match功能匹配接通视频通话的。
Private video:除match video之外所有的视频通话。
三个收费点:性别筛选、付费视频和礼物打赏
性别筛选:在match 功能中设置定向匹配
付费视频:全平台所有的视频通话都会要求付费。
礼物打赏:在平台内很多场景都设置了礼物打赏,比如:视频聊天页、文字聊天、个人主页等。
一个中心点
JOI是变现产品而不是流量产品,变现产品关心的是充值流水。而JOI对此认知相当清晰。无论从页面视觉设计上还是功能设计上都会引导用户去充值,只要你是一个处于激素分泌高峰期成年男性,你就会忍不住点开他的充值页面进行氪金,从而满足自己的欲望。
首先谈谈JOI如何在视觉设计上和部分功能设计如何引导用户充值。
一、高频页面展示
match和club以及个人中心页面顶部展示vip样式和金币余额。大家不要认为用户自然而然就会去找到充值,现在这个社会用户没有耐心自己去寻找,这就需要在产品设计上有很强的引导性。高频页面意味什么?意味着流量!大家都苦流量久矣,为什么在好不容易买的流量面前去更多展示和引导去充值?当然如果你所有页面都要进行展示和引导就有点过犹不及,展示和引导一定要和页面调性进行结合。
(左:match 中:club 右:个人中心)
二、充值优惠策略和会员订阅服务
对于充值优惠策略有四点:
第一:新设备在充值页面会有手动领取免费的10金币。
第二:新用户首充优惠75%。
第三:充值金额越大优惠越多。
第四:sku带有营销标签,减少用户选择成本。,帮助用户选择。
(左:新设备 中:新用户 右:全部SKU)
充值页面非常普通,和线上大部分的充值型产品都一个调性。不过他们的会员销售就很不一样了,JOI采取了捆绑销售并且仅给了单月的时间跨度的3组SKU,其中3组SKU的主要差距体现在送的金币额度不一样。从定价上,你可以发现,订阅VIP+金币馈赠的价格比单笔购买金币要划算不少。把用户引导去订阅是明智的,因为续费带来的收益会非常棒。但是这样的3组SKU的设计,我觉得不如多给用户多一些的时间跨度不一样的SKU。通过巧妙的设计,用户会订阅季度甚至年度的订阅项。
三、付费点设计引导充值
主要是在match筛选的选项强展示自己所剩余的金币和快捷充值按钮,点击直接进入充值页面。其次是你金额不足,而你恰好触发了收费点,都会自动或者引导用户触发充值弹窗。这样的场景还是非常多的,比如:打赏礼物时,Private Video等等。
不要小瞧这些一次又一次的充值弹窗,一遍又一遍展示,总会有些用户被你转化的。比如你有一个产品,你就需不予余力的去推销,潜移默化的影响用户,你的转化率终将会提高。不要为骚扰用户而感到愧疚,这类产品就是需要强引导。
两个基本点之match video
什么是match video call?
通过match页面进行随机匹配,可异性也可同性。
一、 准备状态
先看页面,整个页面有这几个元素:
1、金币/积分、vip图标。放置在顶部导航栏。
2、筛选设置放在顶部区域。这点我认为不是非常合理,对于大屏手机,用户使用起来不方便,可以考虑放在底部区域。JOI放置在顶部区域可能是考虑到底部tab栏按钮太多,再加上筛选设置,会显得头轻脚重。
3、JOI club浮动按钮,单击直接进入JOI Club页面。
4、背景是自己头像。单击进入match 模式。和azar的交互方式不一样,主要是因为azar是放置在最右侧tab中,侧滑不会发生tab栏切换。居中的JOI只能选择单击触发了。
二、 匹配状态
红色框选区域,为广告区域,非vip在匹配过程中会显示广告。
橙色区域的头像不停的变化,彷佛是在告诉你:我们在一直帮你寻找。
注意:我预设了筛选项,但是还是会匹配到不在我设置选项中的人,这一点没有azar做的具有人性化,在azar中如果你的筛选项中没有可匹配的人,它会告诉你:当前匹配范围人员较少,我们会扩大区域帮助你匹配。这样有了提示,用户更容易去接受匹配结果。
三、 匹配成功
匹配成功之后,会在页面上展示对方的基本信息。其中封面是优先展示视频流,当没有视频流时候显示是头像。如果匹配成功在10S之内没有做出回应,就会退出到准备状态。
两个基本点之private video
什么是private video call?
首先private video call是指用户主动给指定用户发送视频请求的通话行为。在这个平台里场景主要是四处:
第一、video chats 历史记录
按照VLMedia Inc.公司产品的一贯调性,这个video chats一般会放在match中作为二级功能,但是在这里却单拎出来作为一级功能页面,令人费解,这里我猜测的原因只能是:为了让用户明显察觉公司几款产品的强关联的关系。
其次还是有点小细节在里面:用户昵称会有不同颜色来显示。这里不是vip特殊显示而是代表三种状态:1、漏接的视频请求2、拒绝的视频请求3、正常的视频通话。这样做有较强的辨识度,不同字体颜色代表不同的优先级。由此可见joi认为:漏接>拒接>正常。
这个页面单击item就会进入个人主页,虽然放置视频请求按钮,但是我认为可以设置为传统手机来电记录那样:单击是回拨功能,边上放置更多按钮让用户去选择操作。
第二、JOI club
首先说明这里的用户都是在线用户,灰色in call代表两种状态1、当前正在通话中2、当前正在匹配模式中。
其次用户点击是查看当前用户的上传的首条短视频,目的是为了供用户筛选,静态头像是不够的,短视频可以算是视频通话的预览。从而使男用户产生更多的荷尔蒙激素,进行付费聊天的冲动。但是我想可以做的更加优秀一点,参考p站,列表就是短视频预览,能够达到同样的效果,还不需要用户点击。
第三、 聊天历史记录
和常规的IM的聊天页面做的稍微有点区别,没有语音功能,只能视频和图片、礼物打赏功能。
此外这里面会涉及到一个会员问题,非会员只能和有过接通视频的用户进行文字聊天。VIP用户没有限制。在这里我有点不太能理解,对于这类pgc模式的产品,本身就不应该限制关系建立,这通常是ugc模式采用的惯用伎俩。我们应该鼓励用户进行双方关系建立,利用pgc用户对普通的转化。但是国内出海此类产品做的更甚:连文字聊天都需要付费。
当对方没有回复,不可以使用图片功能。Joi认为只有双方都进行互动才算是0到1关系的建立,此举也避免了大量的男性用户上来给女性用户发送一些淫秽图片。算是发垃圾系统中一个小功能。
第四、 查看个人主页、个人短视频
对于这类的场景触发就是纯粹的荷尔蒙刺激,当你看几张大尺度照片,几段诱惑力非常强的短视频,你会不会冲动点击通话呢?
总结一下match video和club的private video的关系:
1、 首先在页面上match 页面有一个joi club的快捷浮动按钮,而joi cub没有match的快捷按钮。
2、 Joi club中女性资料的齐全的超乎你想象,部分照片、尺度大的惊人。完全不是一个正常的社交女用户的资料卡片。
3、 和女用户进行视频聊天,都非常主动,上来都是问你要看什么部位,要求你给他送礼物。也不是一个正常女用户干的出来的事情。
4、 积分可兑换成现金。
我从以上三点得出一个结论:JOI是pgc模式下的付费视频聊天app。尽管你可以match到女性素人,但是match功能归根结底还只是一个引流功能,对用户付费的初步教育。而Club成员(pgc用户)来负责提高ARPPU、LTV。你是可以不用充钱玩,但是你要有足够的时间去进行匹配,即使匹配到女性素人,她不可能开始就是能够就让满足你的需求。而在男性的荷尔蒙激素刺激下,时间都显得那么宝贵,你会快速想找到能够专业满足需求的女性用户,这个时候你就会下意识的点开joi club,然后氪金。
三大收费点之性别筛选
JOI的筛选沿用了Azar,在这里面设置了单项收费,仅针对性别筛选收费、对地区筛选不收费(地区筛选只能是全球和本地区,不可以指定区域。)此处就是收入全部归入JOI公司,肯定不涉及任何分成计算。

(左:性别筛选 右:地区筛选)
三大收费点之付费视频通话
收费逻辑:
1:异性用户进行视频通话,无论是match video还是private video都是异性付费。
2、同性用户进行private video时谁主动谁付费。
3、 同性用户进行match video由其中一方付费。(按测试结果显示应该时后注册的付费)
下图中测试时间账号按照注册时间123>chen>wang
(左:123和wang match video中wang的视角 右:chen和wang match video中wang视角)
收费价格、积分分成
1、Match video中为60金币/分钟,前25s为免费时间;Private video中为120金币/分钟。
2、金币等额转换成积分。
3、Match video中由于到25s未付费挂断的平台补偿5积分。
关于积分兑换,这里值得一提的是:由于没有办法成为club成员,普通素人女的用户积分在JOI没有任何用处,至少我操作下来没有任何的反馈。
积分兑换的分成逻辑我在这里做了个小猜测:
1. 男性付了多少金币,女性用户得到多少积分。但女性用户的积分反向转换成现金提成肯定是会有折扣的,兑换比例肯定少于充值优惠的力度,肯定在65%以下。

2、 在Waplog里,不论素人还是PGC的女性用户,她们的积分都是可以提现的。在Waplog中积分可以转化成金币,大概是5积分=1金币,150金币大概是$1.99美金。这样你脑海里大概可以有一个积分和美金换算的关系。
3、 我猜测是因为waplog中考虑到了女性素人,因此进行两折转换,但是针对pgc模式两折又太低,65折不能保证百分百盈利。因此分成在50%左右。
三大收费点之礼物打赏
礼物打赏的场景还是很多的,和其它付费视频聊天没有什么区别。主要还是在三个场景:
第一、 视频通话中的礼物打赏
第二、 文字聊天的礼物打赏
第三、 个人主页、个人短视频的打赏
其中,在第二个场景下,主播需要回复消息才可以领取礼物。这玩法在国内外也都是常见的,礼物打赏这块我就不展开了。聊天约会软件的套路实在太多了,除了送礼物去收割男性用户以外,可能给男用户发一张马赛克的照片和视频,让他们付费解锁会来得更直接一点。
总结
JOI是算的上一款简单的产品,甚至还有一些漏洞、bug但是一直不影响在榜单上表现。能够满足用户需求,用户就会对你的耐心多一点。
现在很多在扎堆出海进行视频聊天业务,但是国内的产品在交互上过于东方化,产品功能追求大而全。自己作为产品经理再去拆解自己的App,你会不会感到头大?而JOI只是继续waplog一小部分业务玩法反而在榜单中表现的更好,这也说明任何小产品也都有成功的潜质。只要你目标明确,主次功能的角色想清楚,你就会很清晰的知道该怎么去做产品。
喇叭(1):
九日论道增长咨询业务已经全方位开展。关注主笔人朋友圈的老朋友们不难发现,日前已经有很多出海的APP在通过九日论道滋养的2个月都实现了70%-120%的营收增长。每个月陪伴式增长服务,点对点优化产品迭代方案 - 培训培养企业产品、运营团队 - 完整的版本数据归因,一切就为了让收入形成健康的月环比增长。
喇叭(2):
(欢迎99元付费解锁JOI完整产品导图)
---END---
更多阅读